ピラニ真空計
PG Series
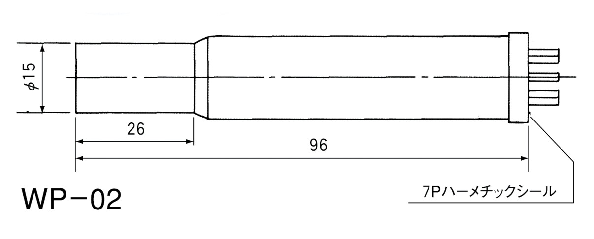
寸法図・性能仕様
| 型式 | PG-20S | PG-30S |
|---|---|---|
| 測定範囲 | 1.0 × 10-1 ~ 1.0 × 104 Pa | |
| 到達圧力 |
a) 制御出力 b)アナログ出力 |
|
| 使用温度 | 温度 5 ~40 ℃、湿度 90 % 以下(結露せぬこと) | |
| 電源 | AC 85 ~ 132 V、12 VA 以下 (AC 100 V、50 / 60 Hz) |
DC 24 V ± 10 %、8 W 以下 |
| 外形寸法 | 96(W)× 120(D)× 96(H)mm(ただし、突起部は除く) | |
| パネルカット寸法 | 92(W)× 92(H)mm | |
| 付属品 | センサーケーブル 3 m × 1 本、測定子 WP-02(外径 15 mm)※外径 18 mm は別売り | |
圧力単位換算表
| 標準気圧 | 水銀柱 | 水柱(15℃) | |||||||
|---|---|---|---|---|---|---|---|---|---|
| Mpa N/mm2 |
Pa N/m2 |
Mdyn/cm2 at |
kgf/cm2 at |
lbf/in2 psi |
atm | mmHg Torr |
inHg | mAg | |
| Mpa N/mm2 |
1 | 1 × 106 | 10 | 10.197 | 145.04 | 9.869 | 7500.62 | 295.3 | 101.97 |
| Pa N/m2 |
1 × 10-6 | 1 | 1 × 10-5 | 1.0197 × 10-5 |
1.4504 × 10-4 |
9.8693 × 10-6 |
7.50062 × 10-3 |
2.953 × 10-4 |
1.0197 × 10-4 |
| Mdyn/cm2 at |
0.1 | 100000 | 1 | 1.0197 | 14.504 | 0.9869 | 750.062 | 29.53 | 10.197 |
| kgf/cm2 at |
9.80665 × 10-2 |
9.80665 × 104 |
0.980665 | 1 | 14.2233 | 0.9678 | 735.559 | 28.96 | 10 |
| lbf/in2 psi |
6.895 × 10-3 |
6895 | 0.06895 | 0.070307 | 1 | 0.06805 | 51.71 | 2.036 | 0.7031 |
| atm | 0.101325 | 101325 | 1.01325 | 1.0332 | 14.696 | 1 | 760 | 29.92 | 10.332 |
| mmHg Torr |
1.33332 × 10-4 |
133.32 | 0.0013332 | 1.35951 × 10-3 |
0.01934 | 0.001316 | 1 | 3.937 × 10-2 |
0.0135951 |
| inHg | 3.386 × 10-3 | 3386 | 3.386 x10-2 |
3.453 x10-2 |
0.4912 | 3.342 | 25.4 | 1 | 0.3453 |
| mAg | 9.8065 × 10-3 |
9806.65 | 0.0980665 | 0.1 | 1.4223 | 9.678 × 10-2 |
73.5559 | 2.896 | 1 |
注意事項
-
以下の環境では使用しないでください。
(1)周囲温度が5~40℃以外の場所
(2)振動、塵埃が多い場所
(3)湿度の高い場所
(4)有機溶剤や爆発性粉体のある場所
(5)結露する場所
(6)密閉容器や箱の中
(7)磁気を発生する場所の近く
(8)雨や水の掛かる場所 - アース端子のある製品は必ず接地工事を行ってください。
- 濡れた手で各スイッチ、部品に触れないでください。
- 必ず付属の取扱説明書をよく読んで正しく製品を取り付け、ご使用願います。
製品に関するお問い合わせ





