ピラニ真空計
TPG Seriess
(左)TPG-1RMZ:メータパネル型(DC 24 V)
(右)TPG-1RCZ:チェック端子型(DC 24 V)
寸法図・性能仕様
| 型式 | TPG-1RMZ, 1RCZ(1点式) | |
|---|---|---|
| 測定範囲 | 2 kPa ~ 0.1 Pa | |
| 測定点数 |
1点式 |
|
| 電源電圧 | DC 24 V + 10 %, 4 VA | |
| 記録計用出力 | 0 ~ 10 V(1点) | |
| 圧力設定出力 | オープンコレクタ出力(2点) (最大定格 DC 28 V, 50 mA) |
|
| 質量 | 0.45 kg ・・・ メーターパネル型(TPG-1RM) 0.4 kg ・・・ チェック端子型(TPG-1RC) |
|
| 付属品 |
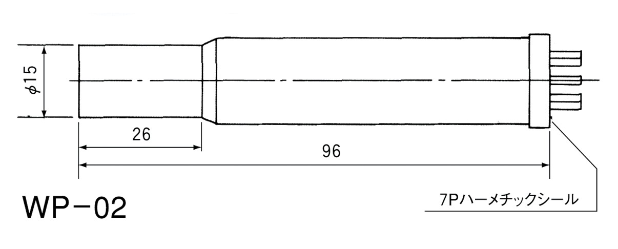
測定管 ・・・ WP-02、金属製、接続口径 15 mm(1本) 測定管接続用コード ・・・ 4 m(1本) 電源コネクタ ・・・ プラグ(1ヶ)、ビンソケット(2ヶ) 外部出力信号用コネクタ ・・・ ソケット(1本)、カバー(1ヶ)、クラッパ(2ヶ)、ロックレバー(1ヶ) 調整ドライバー ・・・ マイナス(1本) 固定金具 ・・・ 1式 |
|
圧力単位換算表
| 標準気圧 | 水銀柱 | 水柱(15℃) | |||||||
|---|---|---|---|---|---|---|---|---|---|
| Mpa N/mm2 |
Pa N/m2 |
Mdyn/cm2 at |
kgf/cm2 at |
lbf/in2 psi |
atm | mmHg Torr |
inHg | mAg | |
| Mpa N/mm2 |
1 | 1 × 106 | 10 | 10.197 | 145.04 | 9.869 | 7500.62 | 295.3 | 101.97 |
| Pa N/m2 |
1 × 10-6 | 1 | 1 × 10-5 | 1.0197 × 10-5 |
1.4504 × 10-4 |
9.8693 × 10-6 |
7.50062 × 10-3 |
2.953 × 10-4 |
1.0197 × 10-4 |
| Mdyn/cm2 at |
0.1 | 100000 | 1 | 1.0197 | 14.504 | 0.9869 | 750.062 | 29.53 | 10.197 |
| kgf/cm2 at |
9.80665 × 10-2 |
9.80665 × 104 |
0.980665 | 1 | 14.2233 | 0.9678 | 735.559 | 28.96 | 10 |
| lbf/in2 psi |
6.895 × 10-3 |
6895 | 0.06895 | 0.070307 | 1 | 0.06805 | 51.71 | 2.036 | 0.7031 |
| atm | 0.101325 | 101325 | 1.01325 | 1.0332 | 14.696 | 1 | 760 | 29.92 | 10.332 |
| mmHg Torr |
1.33332 × 10-4 |
133.32 | 0.0013332 | 1.35951 × 10-3 |
0.01934 | 0.001316 | 1 | 3.937 × 10-2 |
0.0135951 |
| inHg | 3.386 × 10-3 |
3386 | 3.386 × 10-2 |
3.453 × 10-2 |
0.4912 | 3.342 | 25.4 | 1 | 0.3453 |
| mAg | 9.8065 × 10-3 |
9806.65 | 0.0980665 | 0.1 | 1.4223 | 9.678 × 10-2 |
73.5559 | 2.896 | 1 |
注意事項
-
以下の環境では使用しないでください。
(1)周囲温度が 5~40℃以外の場所
(2)振動、塵埃が多い場所
(3)湿度の高い場所
(4)有機溶剤や爆発性粉体のある場所
(5)結露する場所
(6)密閉容器や箱の中
(7)磁気を発生する場所の近く
(8)雨や水の掛かる場所 - アース端子のある製品は必ず接地工事を行ってください。
- 濡れた手で各スイッチ、部品に触れないでください。
- 必ず付属の取扱説明書をよく読んで正しく製品を取り付け、ご使用願います。
製品に関するお問い合わせ





