オプション
-油回転真空ポンプ用
オイルミストトラップ
特長
油回転真空ポンプの排気口部に接続することにより、オイルミスト(油蒸気)による汚染・ポンプ油の吹き出しを防ぐことができます。
- ポンプより排出されるオイルミストの99%を除去します。
- トラップした油は自動的にポンプに戻りますので、ポンプ油の消費を抑えます。
- ポンプ排気音が低下します。
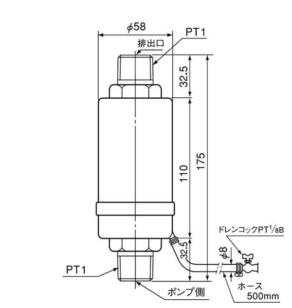
原理図
仕様
| 型式 | エレメント型名 | エレメント数 | 適応ポンプ | 質量(kg) |
|---|---|---|---|---|
| OT-60 | OT-60-45-70 | 1 | RP-60Z | 0.7 |
| OT-180S | OT-180-75-75 | 1 | RP-180Z DRP-180YⅡ DRP-180YⅡA |
1.0 |
| OT-360S | OT-360-100-95 | 1 | RP-360Z DRP-360YⅡ DRP-360Ⅲ |
1.5 |
| OT-1200S | OT-1200-100-145 | 1 | RP-800ZⅡ RP-1200ZⅡ DRP-800 |
2.0 |
| OT-1400S | OT-1400-100-195 | 1 | DRP-1500 | 2.2 |
| OT-1500S | OT-1500-100-95 | 3 | 8.4 | |
| OT-3000S | OT-3000-100-145 | 3 | KP-2500BG KP-3200BG |
10.0 |
| OT-4500S | OT-4500-100-195 | 4 | KP-4500BG | 13.0 |
| OT-7500S | OT-7500-100-330 | 5 | KP-7500BG | 25.5 |
※ 該当油回転真空ポンプに適正なオイルミストトラップを推奨しておりますが、6kPa以上でご使用の際、または、短時間で"大気・真空・大気"を繰り返しご使用する際は、1ランク上もしくは照会の上で、選定させていただきます。
-
【OT-60】

-
【OT-180S】

-
【OT-360S】

-
【OT-1200S】

-
【OT-1400S】

-
【OT-1500S OT-3000S OT-4500S】

-
【OT-7500S】

遅延真空電磁弁 DLV-2N
油回転式真空ポンプ(ロータリーポンプ)停止時のオイル上がり防止
遅延真空電磁弁とは
油回転式真空ポンプが停止すると、ポンプ内の油が真空装置側へ逆流するオイルバックが発生します。
これを防ぐには、ポンプが停止し、メインバルブが完全に閉止した後にポンプの吸気側を大気圧に戻す必要があります。
遅延真空電磁弁は、メインバルブとポンプとの間に設置するだけで、通常のON-OFF時だけでなく、停電時も、真空装置側へのオイルバックを防ぐことができる遅延リークバルブです。真空ポンプが停止し、メインバルブが完全に閉止するまでの間、ポンプ吸気側の真空破壊を遅らせることができるので、真空ポンプや真空装置を保護することができます
とても省電力です。何故?
コイルに電流を流すと、プランジャーの一端がN極、もう一端はS極になり、電流の向きを変えると極性は反転します。これに永久磁石をマグネット吸着面近くに設置すると、ブランジャーの極性と永久磁石の極性により吸着、反発が行われます。本電磁弁は、コイルへの電流の向きを変えることでプランジャーを吸着、反発させ、永久磁石の磁力とプランジャーバネの力によりそれぞれその状態を、電流OFF後も保持させています。つまり、プランジャーが移動するごく短い時間にコイルに電流を流すだけで、バルブを切り替えることが出来るとても省エネルギーな電磁弁です。
特長
- 超省電力
定常時3W(当社従来品の1/12)
マグネットへの通電信号をパルス電圧で行えるようにしたことで定常時の消費電力を従来品の1/12まで低減 - 高真空に対応
弁漏れ1.3×10-9Pa m3/s(He)以下
ボディにSUS304、弁シートにFKMを使用。高い真空度を保持します - コンパクト/大容量
Cv値:0.45(オリフィス:Φ3.6mm)
大幅な小型化にもかかわらず、大きな弁容量を確保 - コイルの発熱無し
定常時はコイルに通電しませんので、コイルの発熱は全く無く、コイルの焼損や周辺部品の熱による劣化がありません。 - 環境にやさしい RoHS対応
制御基板、鉛フリー。その他環境汚染物質の使用を大幅に低減
仕様
| 弁形式 | 直動式 2 ポート弁(常時開形) |
|---|---|
| 接続口径 | Rc 1/4 |
| 使用圧力範囲 | 1.3 ×10-6 Pa ~ 105 Pa (大気圧) |
| 保証耐圧力 | 0.5 MPa |
| Cv 値 | 0.45 |
| 周囲温度 | 0 ℃ ~ 50 ℃(凍結なきこと) |
| 定格電圧 | AC 200 / 220 V(50 / 60 Hz 共用) |
| 消費電力 | 起動時 19.5 / 21.5 W 定常時 3 / 3.5 W(AC 200 / 220 V) |
| 電圧許容範囲 | 90 ~ 110 % |
| 絶縁種 | E種 |
| 遅延時間 | 出荷時約 4 秒(1 ~ 8 秒に設定可) |
| 頻度 | 1 回 / 分 以下 |
| リーク量 | 1.3 × 10-9 Pa m3/sec(He)以下(弁シート部) |
| 製品質量 | 0.8 kg |
| 付属品 | サイレンサ、Φ15 ゲージポート用継手(SUS 製) |
取付
- メインバルブとポンプの間に設置します
- 取付姿勢は自由ですが、垂直方向の取付を推奨します
- 取付は本体底面と側面のどちらかのネジ穴を使用して固定します
- 大気を直接吸い込む場合は、付属のフィルタを大気側ポートに接続してください
(フィルタ 50 ミクロン) - 真空計用ゲージポート(Φ15)に取り付ける場合は、付属の継手を真空側ポートに接続して下さい。
寸法図

遅延時間調整方法
真空ポンプと遅延真空電磁弁を同時にOFFにした場合、真空ポンプが停止し、メインバルブが完全に閉止するまでの間、遅延真空電磁弁が開かないように調整します。
約1秒~8秒の範囲でバルブが開く時間を調整できます。
プラスドライバーで右に回すと時間が長くなります。
| 品番 | 部品名称 | 材質 |
|---|---|---|
| (1) | ボディ | SUS304 |
| (2) | バルブ | フッ素ゴム(FKM) |
| (3) | メッシュ | SUS304 60 メッシュ(250 ミクロン) |
※ 予告なく仕様または希望小売価格が変更されることがあります。
製品に関するお問い合わせ




